Ersatzteile, Zubehör und Schmierstoffe für Drehkolbengebläse
Das ganze Gebläse - Service - Programm
Über 90 % aller Ersatzteile können wir schnell aus unserem gut bestückten Lager liefern. Wenn es sich um Teile für Jahrzehnte alte Maschinen handelt, die nicht mehr verfügbar sind, fertigen wir sie auf unserem Maschinenpark nach – und schaffen damit eine wichtige Voraussetzung für die Langlebigkeit und hohe Verfügbarkeit unserer Drehkolbengebläse.
Neben dem üblichen Zubehörprogramm fertigen wir auch hochwertige Komponenten wie z.B. Schalldämpfer und Sicherheitsventile aus eigener Entwicklung.
Alle bei uns erhältlichen Gebläse-Ersatzteile sind Original-Ersatzteile entsprechend dem hohen Spelleken-Standard, für den wir als Drehkolbengebläse-Hersteller stehen. Dadurch ist eine hohe Qualität sichergestellt.
Bitte kontaktieren Sie uns für Ihr individuelles Ersatzteilangebot.
Unsere Roots-Blower
Typ RV und Typ 3RV

Drehkolbengebläse Baureihe RV Ausführung .5

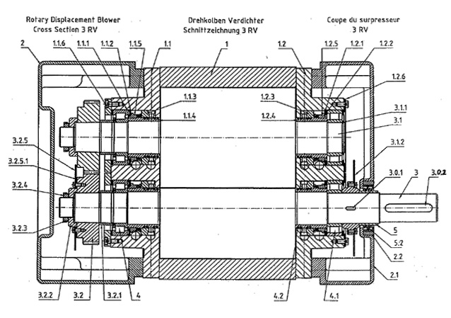
Drehkolbengebläse Schnittzeichnung 3RV
Schmierstoffe
100% Sicherheit im Umgang mit Lebensmitteln
Auf Grund der immer höher werdenden Anforderungen an die Schmierung der Maschinen, längere Standzeiten, bessere Ausnutzung, haben wir einen genau auf unsere Gebläse passenden Standard entwickelt.
Dieser Standard ist auf die neuesten Verordnungen der Lebensmittel- und Hygienegesetze aufgebaut. Die Schmierstoffe bieten Ihnen eine 100%ige Sicherheit im Umgang mit Lebensmitteln.
Die Produkte sind NSF H1 registriert und damit für den Einsatz in der Lebensmittelindustrie zugelassen.
Auch bei der Auswahl von Schmierstoffen beraten wir unsere Kunden umfassend. Zu unserem Lieferprogramm gehören Hochleistungs-Schmierstoffe für allgemeine Anwendungen und für Sonderanforderungen, z.B. synthetische Fluids mit NSF-H1-Zulassung für die für die Lebensmittelverarbeitung.
Eine Gewährleistung für die Gebläse besteht nur dann, wenn nachstehend beschriebene Anforderungen an die Schmierstoffe erfüllt werden.
Spezifikationen:
Synthetik - Hochleistungsschmierstoff nach DIN 51517 CLP
| Schmieröl | Viscositätsindex ASTM D 2270 | Einsatzbereich Öltemperatur |
|---|---|---|
| J&H Blowerlub GTO 1.0 | 150 | gemäß Auftragsdaten |
| J&H Blowerlub GTO 2.0 | 139 | gemäß Auftragsdaten |
| J&H Blowerlub GTO 3.0 | 147 | gemäß Auftragsdaten |
| J&H Blowerlub GTO 3.0 GL | 320 | Sonder. öltemoeratur >120'C |
Unsere Schmierstoffe im Einsatz
| Gebläse Baugröße | Schmierstelle | Schmiermenge Fettmenge je Lager ca. Ölmenge in Abschl.-Deckel / Radkasten |
Schmierfrist in h | |
|---|---|---|---|---|
| Förderrichtung waagerecht |
Förderrichtung senkrecht |
|||
| RV 03.3 / 04.3 | Antriebsseite | 10 g | 10 g | 3000 |
| Steuerseite | 0,15 L | 0,20 L | ||
| RV 10.3 | Antriebsseite | 20 g | 20 g | |
| Steuerseite | 0,20 L | 0,35 L | ||
| RV 20.3 | Antriebsseite | 40 g | 40 g | |
| Steuerseite | 0,40 L | 0,90 L | ||
| RV 30.3 | Antriebsseite | 50 g | 50 g | |
| Steuerseite | 0,65 L | 1,40 L | ||
| RV 40.3 | Antriebsseite | 60 g | 60 g | |
| Steuerseite | 1,25 L | 2,40 L | ||
| RV 50.3 | Antriebsseite | 70 g | 70 g | |
| Steuerseite | 3,60 L | 3,40 L | ||
| RV 60.3 | Antriebsseite | 80 g | 80 g | |
| Steuerseite | 5,60 L | 4,50 L | ||
| RV 70.3 | Antriebsseite | 100 g | 100 g | |
| Steuerseite | 6,00 L | 7,00 L | ||
| RV 80.3 | Antriebsseite | / | 120 g | |
| Steuerseite | / | 29,50 L | ||
| Gebläse Baugröße | Schmierstelle | Schmiermenge Fettmenge je Lager ca. Ölmenge in Abschl.-Deckel / Radkasten |
Schmierfrist in h | |
|---|---|---|---|---|
| Förderrichtung waagerecht |
Förderrichtung senkrecht |
|||
| RV 03.4 / 04.4 | Antriebsseite | 10 g | 10 g | 3000 |
| Steuerseite | 0,15 L | 0,20 L | ||
| RV 10.4 | Antriebsseite | 20 g | 20 g | |
| Steuerseite | 0,20 L | 0,35 L | ||
| RV 20.4 | Antriebsseite | 40 g | 40 g | |
| Steuerseite | 0,40 L | 0,90 L | ||
| RV 30.4 | Antriebsseite | 50 g | 50 g | |
| Steuerseite | 0,65 L | 1,40 L | ||
| RV 40.4 | Antriebsseite | 60 g | 60 g | |
| Steuerseite | 1,25 L | 2,40 L | ||
| RV 50.4 | Antriebsseite | 70 g | 70 g | |
| Steuerseite | 3,60 L | 3,40 L | ||
| RV 60.4 | Antriebsseite | 80 g | 80 g | |
| Steuerseite | 5,60 L | 4,50 L | ||
| RV 70.4 | Antriebsseite | 100 g | 100 g | |
| Steuerseite | 6,00 L | 7,00 L | ||
| RV 80.4 | Antriebsseite | / | 120 g | |
| Steuerseite | / | 29,50 L | ||
| Gebläse Baugröße | Schmierstelle | Schmiermenge Fettmenge je Lager ca. Ölmenge in Abschl.-Deckel / Radkasten |
Schmierfrist in h | |
|---|---|---|---|---|
| Förderrichtung waagerecht |
Förderrichtung senkrecht |
|||
| RV 03.3 / 04.3 | Antriebsseite | 10 g | 10 g | 3000 |
| Steuerseite | 0,15 L | 0,20 L | ||
| RV 10.3 | Antriebsseite | 20 g | 20 g | |
| Steuerseite | 0,20 L | 0,35 L | ||
| RV 20.3 | Antriebsseite | 40 g | 40 g | |
| Steuerseite | 0,40 L | 0,90 L | ||
| RV 30.5 | Antriebsseite | 50 g | 50 g | |
| Steuerseite | 0,65 L | 1,40 L | ||
| RV 40.5/.6 | Antriebsseite | 60 g | 60 g | |
| Steuerseite | 1,25 L | 2,40 L | ||
| RV 50.5/.6 | Antriebsseite | 70 g | 70 g | |
| Steuerseite | 3,60 L | 3,40 L | ||
| RV 60.5/.6 | Antriebsseite | 80 g | 80 g | |
| Steuerseite | 5,60 L | 4,50 L | ||
| RV 70.5/.6 | Antriebsseite | 100 g | 100 g | |
| Steuerseite | 6,00 L | 7,00 L | ||
| RV 80.5/.6 | Antriebsseite | / | 120 g | |
| Steuerseite | / | 29,50 L | ||
| Gebläse Baugröße | Schmierstelle | Schmiermenge Fettmenge je Lager ca. Ölmenge in Abschl.-Deckel / Radkasten |
Schmierfrist in h | |
|---|---|---|---|---|
| Förderrichtung waagerecht |
Förderrichtung senkrecht |
|||
| 3RV 10 | Antriebsseite | 0,20 L | 0,34 L | 3000 |
| Steuerseite | 0,33 L | 0,66 L | ||
| 3RV 13 | Antriebsseite | 0,34 L | 0,55 L | |
| Steuerseite | 0,50 L | 1,17 L | ||
| 3RV 16 | Antriebsseite | 0,57 L | 0,95 L | |
| Steuerseite | 0,96 L | 1,80 L | ||
| 3RV 20 | Antriebsseite | 2,85 L | 2,90 L | |
| Steuerseite | 1,50 L | 3,90 L | ||

